雷火竞技

技术文章您现在的位置:首页 > 新闻资讯 > 技术文章 > BERARMA叶片泵工作原理与特点
BERARMA叶片泵工作原理与特点
浏览次数:8380      发布于:2018-09-25

  BERARMA叶片泵转子旋转时,叶片在离心力和压力油的作用下,尖部紧贴在定子内表面上。这样两个叶片与转子和定子内表面所构成的工作容积,先由小到大吸油后再由大到小排油。

  BERARMA叶片泵又分为双作用叶片泵和单作用叶片泵。双作用BERARMA叶片泵只能作定量泵用,单作用BERARMA叶片泵可作变量泵用。双作用叶片泵因转子旋转一周,叶片在转子叶片槽内滑动两次,完成两次吸油和压油而得名。单作用叶片泵转子每转一周,吸、压油各一次,故称为单作用。

  BERARMA叶片泵具有结构紧凑、运动平稳、噪声小、输油均匀、寿命长等优点,广泛应用于中、低压液压系统中。其工作压力为6~21MPa。

  1 双作用BERARMA叶片泵的结构怎样,是怎样工作的?

  双作用BERARMA叶片泵的工作原理:如图14所示,转子每转一转,每个工作腔完成两次吸油和压油。

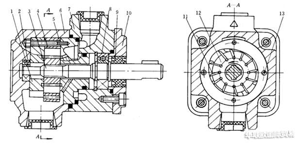
  双作用BERARMA叶片泵的结构:由定子内环、转子外圆和左右配流盘组成的密闭工作容积被叶片分割为四部分,传动轴带动转子旋转,叶片在离心力作用下紧贴定子内表面,因定子内环由两段大半径圆弧、两段小半径圆弧和四段过渡曲线组成,故有两部分密闭容积将减小,受挤压的油液经配流窗口排出,两部分密闭容积将增大形成真空,经配流窗口从油箱吸油。YBl型叶片泵结构如图15所示。

  图14 双作用叶片泵的工作原理图

  1-转子 2-定子 3-叶片 4-泵壳

  1-左配油盘;2-轴承;3-泵轴;4-定子;5-右配油盘;6-泵体;7-前泵体;8-轴承;9-油封;10-盖板;11-叶片;12-转子;13-紧固螺钉

  图15 YBl型叶片泵结构

  2 怎样计算双作用BERARMA叶片泵的排量?

  双作用BERARMA叶片泵的排量:V = 2πB(R 2 – r 2)- 2 z BS(R - r)/ cosθ

  式中B为转子(叶片、定子)宽度,R为定子大半径, r为定子小半径, z为叶片数,S为叶片厚度,θ为叶片倾角。

  3 双作用BERARMA叶片泵有何特点?

  双作用叶片泵的特点:

  径向力平衡。

  为保证叶片自由滑动且始终紧贴定子内表面,叶片槽根部全部通压力油。

  合理设计过渡曲线形状和叶片数(z≥8),可使理论流量均匀,噪声低。

  定子曲线圆弧段圆心角β≥配流窗口的间距角γ ≥叶片间夹角α(=2π/z)。

  为减少两叶片间的密闭容积在吸压油腔转换时因压力突变而引起的压力冲击,在配流盘的配流窗口前端开有减振槽。

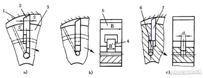
  4 高压BERARMA叶片泵有何特点?

  叶片槽根部全部通压力油会带来以下副作用:定子的吸油腔部被叶片刮研,造成磨损;减少了泵的理论排量;可能引起瞬时理论流量脉动。这样,影响了泵的寿命和额定压力的提高。

  提高双作用BERARMA叶片泵额定压力的措施:

  1)采用浮动配流盘实现端面间隙补偿。

  2)减小通往吸油区叶片根部的油液压力。

  3)减小吸油区叶片根部的有效作用面积,其中采用阶梯式叶片以减小叶片厚度(厚度S减为S’,如图16a所示),采用子母叶片以减小叶片宽度(宽度B减为B’,如图16b所示),采用柱销式叶片,如图16c所示。

  a)阶梯式叶片 b)子母叶片 c)柱销式叶片

  1-定子,2-阶梯叶片,3-转子,4-子叶片,5-母叶片,6-柱销,7-叶片

  图16 高压叶片泵结构

  4)采用双层叶片结构,如图17所示,压力油经通道c从叶片根部b到顶部a,叶片顶部有压力油,实现了叶片根部与顶部的压力平衡与稳定,减小了叶片顶部对定子内表面的正压力与摩擦力。

  图17 双层叶片结构

  5 单作用叶片泵是怎样工作的,怎样计算其排量?

  单作用BERARMA叶片泵的工作原理:如图18所示,当转子按逆时针方向转动时,右半周,叶片向外伸出,密封工作腔容积逐渐增大,形成局部真空,于是通过吸油口和配油盘上的吸油窗口将油吸入;左半周,叶片向转子里缩进,密封工作腔容积逐渐缩小,工作腔内的油液经配油盘压油窗口和泵的压油口输到系统中。

  单作用BERARMA叶片泵排量计算:单作用叶片泵定子2内环为圆,R为定子内表面半径;转子1与定子存在偏心e,铣有z 个叶片槽;叶片3在转子叶片槽内自由滑动,叶片宽度为B;左、右配流盘铣有吸、压油窗口。

  排量V= 4BzRe sin(π/z )

  图18 单作用叶片泵

  6 单作用BERARMA叶片泵有何特点?

  单作用叶片泵的特点:

  1)可以通过改变定子的偏心距 e 来调节泵的排量和流量。

  2)叶片槽根部分别通油,叶片厚度对排量无影响。

  3)因叶片矢径是转角的函数,瞬时理论流量是脉动的。叶片数取为奇数,以减小流量的脉动。

  7 什么是限压式变量BERARMA叶片泵?

  限压式变量叶片泵如图19所示,限压式变量叶片泵定子右边控制活塞作用着泵的出口压力油,左边作用着调压弹簧力,当FFt,定子将向偏心减小的方向移动,泵的输出流量减小。

  图19 限压式变量叶片泵

  8 限压式变量BERARMA叶片泵特性曲线怎样?

  限压式变量叶片泵特性曲线如图20所示,调节压力调节螺钉的预压縮量,即改变特性曲线中拐点B的压力大小pB,曲线BC 沿水平方向平移。调节定子右边的最大流量调节螺钉,可以改变定子的最大偏心距emax,即改变泵的最大流量,曲线 AB上下移动。限压式变量BERARMA叶片泵的压力流量特性曲线如图ABC。更换不同刚度的弹簧,即改变了BC 的斜率,泵的最高压力pC也就不同。

  图20 限压式变量叶片泵调节原理

0755-83233703 info@lyqzys.com